


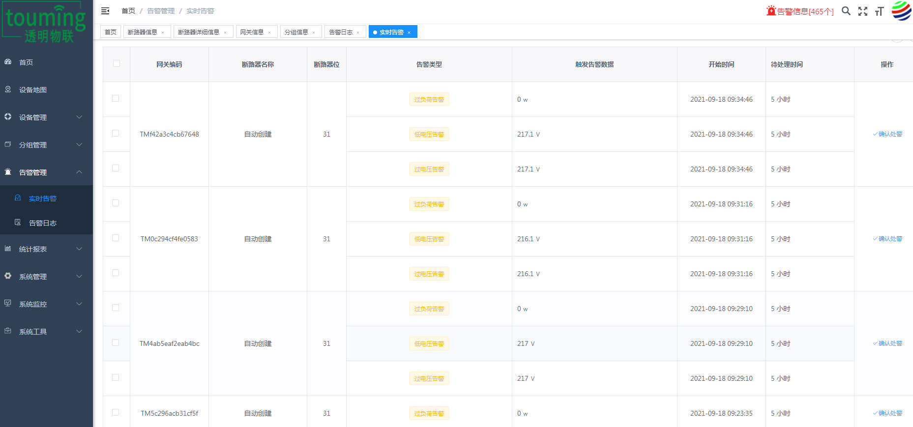
可以查看项目名称下的设备信息和探测器信息,探测器详细信息包括项目名称、所属设备、剩余电流、温度、三相电压电流等实时状态信息。同时具备权限的管理控制操作,24小时监视各探测点的剩余电流、温度、电压、电流、状态等信息;
可以查看项目名称下的设备信息和探测器信息,探测器详细信息包括项目名称、所属设备、剩余电流、温度、三相电压电流等实时状态信息。同时具备权限的管理控制操作,24小时监视各探测点的剩余电流、温度、电压、电流、状态等信息;
可以查看项目名称下的设备信息和探测器信息,探测器详细信息包括项目名称、所属设备、剩余电流、温度、三相电压电流等实时状态信息。同时具备权限的管理控制操作,24小时监视各探测点的剩余电流、温度、电压、电流、状态等信息;
可以查看项目名称下的设备信息和探测器信息,探测器详细信息包括项目名称、所属设备、剩余电流、温度、三相电压电流等实时状态信息。同时具备权限的管理控制操作,24小时监视各探测点的剩余电流、温度、电压、电流、状态等信息;
可以查看项目名称下的设备信息和探测器信息,探测器详细信息包括项目名称、所属设备、剩余电流、温度、三相电压电流等实时状态信息。同时具备权限的管理控制操作,24小时监视各探测点的剩余电流、温度、电压、电流、状态等信息;








远程控制
各区域电量报表
定位故障点,主并及时通知
建筑量化控制
公共景观与道路照明


远程控制
各区域电量报表
定位故障点,主并及时通知
建筑量化控制
公共景观与道路照明


远程控制
各区域电量报表
定位故障点,主并及时通知
建筑量化控制
公共景观与道路照明


远程控制
各区域电量报表
定位故障点,主并及时通知
建筑量化控制
公共景观与道路照明


远程控制
各区域电量报表
定位故障点,主并及时通知
建筑量化控制
公共景观与道路照明


远程控制
各区域电量报表
定位故障点,主并及时通知
建筑量化控制
公共景观与道路照明
手机:15558995588 15558995599
电话:0577-62969955
传真:0577-62889955
邮箱:1397788970@qq.com
地址:乐清市北白象小方工业区